TRELLEBORG特瑞堡密封系统成立于1952年,已收购德国BUSAK+SHAMBAN。
TRELLEBORG密封PT0403000-T46N技术规格
| |
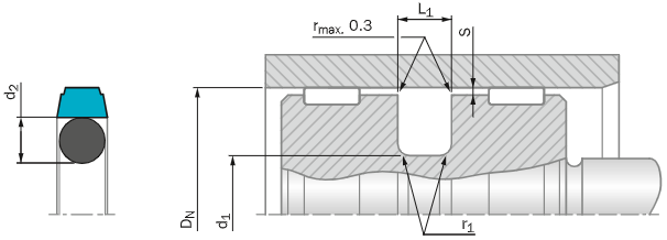
TSS Part No. | PT0403000 |
Bore Dia DN H9 | 300.0 |
Groove Dia d1 H9 | 279.0 |
Groove Width L1 +0.2 | 8.1 |
O-Ring Dimensions | 278.77×7.00 |
TRELLEBORG密封PT系列介绍
Turcon” Glyd Ring° T 是 Turcon* Glyd Ring 的进一步技术改进。在所有新的应用中,它与早期的 Glyd Ring” 密封件完全互换。
该专利密封件的主要优势在于其创新的梯形截面功能原理。密封件截面两侧向密封表面逐渐变细。因此,该截面既能保持活塞密封件典型的坚固紧凑的形状,又能保证实现与压力相关的最大压缩所需的灵活性。
“T”型密封圈的开口角度允许一定程度的变形,并允许密封圈轻微移动。最大压力集中在密封圈边缘直接受压的区域。
在密封圈的低压区,“T”型密封圈仅作用于无压缩或剪切载荷的中性区域,从而降低间隙挤出的风险。
Turcon" Glyd Ring° T is a further technical development of Turcon* Glyd Ring . It is fully interchangeable with earlier Glyd Ring" seals in all new applications.
The main benefits of the patented seal are provided by the innovative functional principle of the trapezoidal profile cross section.The sides of the seal profile tapers towards the seal surface. The profile can thus retain the robust and compact form typical of piston seals without losing any of the flexibility
required to achieve a pressure-related maximum compression.
The edee ange of alye Ring" T permits an ddina degeol feom and eables a sight iirg movement ofthe sl The maxinum cmpresson s tus avays shite lwerds the area of the seal edge direty exposed to the pressure.
On the low pesure eoge of the seal Gyd Ring' T ehbits ony zones with neutral stains without compresive or shearing Ioads, thus ecivev reducing the danger of GAP extrusion
TRELLEBORG密封PT系列其他常用型号:
TRELLEBORG PT0403000-T46N
TRELLEBORG PT0402650-T46N
TRELLEBORG PT0402680-T46N
TRELLEBORG PT0402700-T46N
TRELLEBORG PT0402800-T46N
TRELLEBORG PT0402900-T46N
TRELLEBORG PT0803000-T46N
TRELLEBORG PT0403048-T46N
TRELLEBORG PT0403100-T46N
TRELLEBORG PT0403200-T46N
TRELLEBORG PT0803200-T46N
TRELLEBORG Graley Circle NEW + ORIGINAL+ ONE YEAR WARRANTY
爱泽工业成立于2010年,定位于向先进制造工业提供高端制造技术和设备。代理经营世界先进的电气自动化、机械与传动、流体控制、仪器仪表、工具等产品。作为电气,液压以及气动解决方案的合作伙伴,我们利用我们的全球协作团队,为客户提供先进解决方案,市场知识以及相关增值服务来帮助优化客户的工作效率,提高可靠性和安全性,致力于成为工业产品和解决方案的优质渠道。
如果有任何关于TRELLEBORG密封PT0403000-T46N的疑问,请随时与我们沟通(021-31006702)。我们将尽全力解决您的问题。
If you have any question for TRELLEBORG products, please feel free to dial 0086-21-3100 6702/ send request email to [email protected] / browse our website: www.ize-industries.com.
TRELLEBORG密封PT系列PT0403000-T46N技术规格及介绍

沪公网安备31011002006738号