HEROSE公司为世界各地的技术气体、蒸汽和液体的处理提供安全保障。HEROSE公司拥有 140 年的阀门开发、制造和销售经验,注重创新和现代化生产,并经过认证的质量管理。
产品包括:
用于低温技术的配件和阀门
适用于小型 LNG 应用的配件和阀门
一般工业应用的安全阀
基于 DIN-EN 标准的工业配件
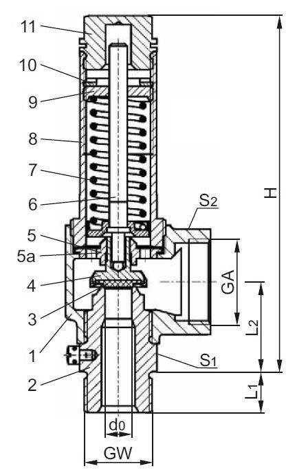
Nominal size | GW | 3/4 |
|
Orifice | d0 | 10.5 | |
Dimension code | .X. | 1006 | |
Set pressure range | bar | 2.9-50 | |
Outlet | GA | 1 | |
Height | H | 140 | |
Length | L1 | 16 | |
Length | L2 | 36 | |
Wrench size across flats | S1 | 30 | |
Wrench size across flats | S2 | 41 | |
Weight | ca. kg | 0.79 | |
Coefficient of discharge | ɑw | 0.58 | |
Coefficient of discharge | rated slope | 1.517 |
HEROSE安全阀06388系列介绍
低温安全阀,角型,青铜,PN50,经过 TÜV-SV.780.SG/G型式测试。
应用:
作为安全装置提供,用于保护固定和可移动气瓶和压力容器中的过压。批准用于空气气体、蒸汽和低温液化气体,包括 液化天然气。
工作温度:-196°C / -321°F (77K) 至 +185°C / +365°F (458K),适合水平安装。
Cryogenic Safety Valve, angle type, bronze, PN50, type tested TÜV-SV.780. S/G
Applications:
Provided as safety device for protection against excessive pressure in stationary and moveable gas cylinders and pressure vessels. Approved for air gases, vapours and cryogenic liquefied gases incl. LNG.
Working temperature: -196°C / -321°F (77K) up to +185°C / +365°F (458K), suitable for horizontal installation
HEROSE安全阀06388系列其他常用型号:
HEROSE 06388.0704.6000
HEROSE 06388.0706.6000
HEROSE 06388.1004.6000
HEROSE 06388.1006.6000
HEROSE 06388.1510.6000
HEROSE 06388.2312.6000
HEROSE 06388.2314.6000
HEROSE 06388.2320.6000
HEROSE Safety Valves NEW + ORIGINAL+ ONE YEAR WARRANTY
爱泽工业成立于2010年,定位于向制造工业提供高端制造技术和设备。代理经营世界优质的电气自动化、机械与传动、流体控制、仪器仪表、工具等产品。作为电气,液压以及气动解决方案的合作伙伴,我们利用我们的全球协作团队,为客户提供先进解决方案,市场知识以及相关增值服务来帮助优化客户的工作效率,提高可靠性和安全性,致力于成为工业产品和解决方案的优质渠道。
如果有任何关于HEROSE安全阀06388.1004.6000的疑问,请随时与我们沟通(021-31006702)。我们将尽全力解决您的问题。
If you have any question for HEROSE products, please feel free to dial 0086-21-3100 6702/ send request email to [email protected] / browse our website:www.ize-industries.com.
HEROSE安全阀06388.1004.6000技术参数介绍

沪公网安备31011002006738号