SES公司成立于2004年。产品广泛应用于机械工业、流体动力工业、汽车工业、医疗工业和航空航天工业等。
SES密封RE1-70技术参数
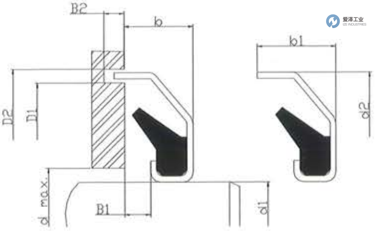
Code | RE1-70 |
|
d1 | 70 | |
d2 | 92 | |
b | 5.5 | |
B1 | 1 | |
b1 | 7.5 | |
B2 | 3 | |
d max | 78 | |
D1 | 88.5 | |
D2 | 94 | |
SES P/N. | BSC00070 |
SES密封RE/RE1系列介绍
• 密封防水油脂、灰尘、污垢和油脂
• 与旋转轴封配合良好
• 安装简单
• 金属环保护弹性体密封元件免受损坏
• 无需昂贵的机器停机时间,减少维修损失
• Sealing against water grease, dust, dirt and grease
• Good in combination with rotary shaft seals
• Simple installation
• The metal ring protects the elastomer sealing element against damage
• No costly machine down time as repairs are reduced to a minimum
SES密封RE1系列选型

SES密封RE1系列其他常用型号:
SES RE1-20
SES RE1-25
SES RE1-30
SES RE1-35
SES RE1-40
SES RE1-45
SES RE1-50
SES RE1-55
SES RE1-60
SES RE1-65
SES RE1-70
SES RE1-75
SES RE1-80
SES RE1-85
SES RE1-90
SES RE1-95
SES RE1-100
SES Seal NEW + ORIGINAL+ ONE YEAR WARRANTY
爱泽工业成立于2010年,定位于向制造工业提供高端制造技术和设备。代理经营世界优质的电气自动化、机械与传动、流体控制、仪器仪表、工具等产品。作为电气,液压以及气动解决方案的合作伙伴,我们利用我们的全球协作团队,为客户提供先进解决方案,市场知识以及相关增值服务来帮助优化客户的工作效率,提高可靠性和安全性,致力于成为工业产品和解决方案的优质渠道。
如果有任何关于SES密封RE1-70的疑问,请随时与我们沟通(021-31006702)。我们将尽全力解决您的问题。
If you have any question for SES products, please feel free to dial 0086-21-3100 6702/ send request email to [email protected] / browse our website:www.ize-industries.com.
SES密封RE1-70技术参数及选型

沪公网安备31011002006738号